爱游戏体育-爱游戏| 爱游戏官方网站

新闻动态

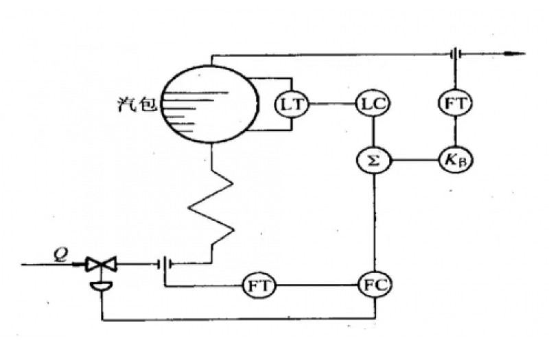
  • 锅炉汽包液位三冲量控制系统

    主被控变量:汽包液位,由液位变送器(LT)测量,经导压管将汽包内液位信号引出,送至主调节器(LC)。 副被控变量:给水流量,由流量变送器(FT2)测量,安装在给水管道的孔板处,通过导压管将差压信号转换为电信号,送至副调节器(FC)。

    2025-08-08 科威

  • 新型泄压阀与阻火器组合装置

    该系列产品集卓越的密封性能、优异的流通能力以及可靠的阻火保护功能于一体,专为满足甚至超越最严苛的行业标准而设计。

    2025-08-06 科威

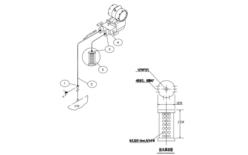
  • 微差压变送器防风罩

    为减少外界气流和环境波动对微差压变送器测量精度的影响,可以在微差压变送器负压侧取压口处安装一段向下的引压管并安装防风罩,以下是防风罩在微差压变送器上的安装示意图:

    2025-08-06 科威

  • 膜盒压力表和隔膜压力表区别,别弄混了!

    膜盒压力表和隔膜压力表,虽然只有一字之差,但是两者在结构、工作原理、适用介质和场合等方面存在显著差异,是两种不同类型的压力测量仪表。

    2025-08-04 科威

  • 压力变送器出现零点漂移,温度变送器很少出现等点漂移原因是?

    压力变送器和差压变送器在工业应用中经常要根据现场条件调整其测量范围,以适应不同的安装位置和测量条件。例如,在测量封闭容器液位时,如果气相介质容易冷凝,会导致进入变送器导压管及负压室的都是冷凝液,从而引起测量误差:为了解决这个问题,需要使用负迁移,使变送器等点由负差压开始,以满足使用要求。

    2025-08-04 科威

  • 气体浓度检测仪单位%LEL、%VOL、PPM、mg/m³换算全解析

    在工业安全、环境监测、实验室分析等场景中,气体浓度单位的准确理解和换算直接关系到检测结果的可靠性。本文系统梳理%LEL、%VOL、PPM、mg/m³的含义、换算逻辑及常见术语,帮你快速掌握气体检测的 “语言体系”。

    2025-07-31 科威

  • 现场调节阀拆解详细过程

    以下是调节阀拆解的详细步骤及注意事项,适用于常见的气动/电动调节阀(如直通单座阀、套筒阀等)。具体操作需根据阀门型号和制造商手册进行调整。

    2025-07-31 科威

  • 仪表设备外壳接地和保护接地的区别

    安全防护:与保护接地类似,防止外壳带电伤人。 电磁屏蔽:抑制电磁干扰(如电子设备的外壳接地)静电释放:避免静电积累(如通信设备机柜)

    2025-07-29 科威

爱游戏体育-爱游戏| 爱游戏官方网站
产品
新闻
联系